一、合同创建项目中的加工单,同步合同的交货日期字段信息;
合同创建项目中的加工单,同步合同的交货日期字段信息;

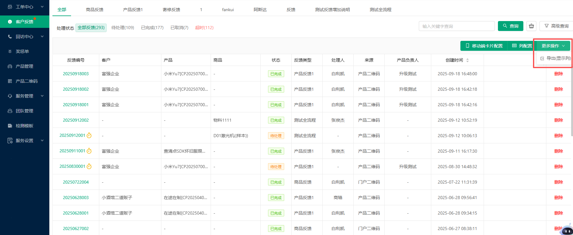
二、客户反馈支持导出;
客户反馈支持导出;

三、外协工单参与成本报表统计;
视图基本信息添加字段统计单据,单选,必填可选加工单和外协工单。两个单据的字段权限、数据过滤相互独立。

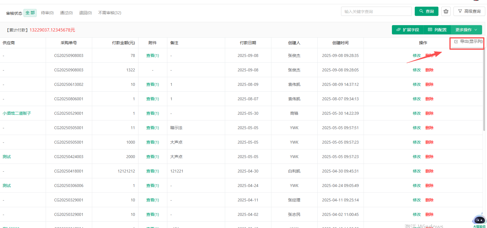
四、采购单付款记录支持导出功能;

五、pda支持生产出库单;

六、创建加工单优化子加工单项;
增加按钮只看自产,增加列显示物料来源。

七、成本报表里计算利润;
批量操作添加批量收款功能,批量收款仅支持一次性收欠款,不支持自定义金额。
a.添加字段:毛利润字段,支持排序、导出。
b.添加字段:生产总值,支持排序、导出。
c.添加字段:实际生产数,实际生产数为最后一道工序的报工良品数。
d.生产总值:生产总值 = 销售单价*实际生产数。

修复已知问题和优化用户体验!